云南省蒙自市采购电动公交车及相关设备国际竞争性招标澄清或变更公告
澄清或变更简要说明:开标时间延期和开标地点变更。
中仪国际招标有限公司受招标人委托对下列产品及服务进行国际公开竞争性招标,于2020-06-23在中国国际招标网发布变更公告。本次招标采用传统招标方式,现邀请合格投标人参加投标。
1、招标条件
项目概况:本次项目为世行贷款云南省红河州滇南中心城市交通项目下的蒙自市采购165辆电动公交车和17个充电桩及相关设备项目
资金到位或资金来源落实情况:本项目由世界银行贷款,本合同为货物合同,由世界银行100%支付货款。
项目已具备招标条件的说明:本合同招标文件已于2020年5月13日获得世界银行的不反对意见。
2、招标内容
招标项目编号:0703-2010CIC5Y018
招标项目名称:世行贷款云南省红河州滇南中心城市交通项目蒙自市子项目—蒙自市采购165辆电动公交车和17个充电桩及相关设备(合同号:MZ-GD-08)国际竞争性招标
项目实施地点:中国云南省
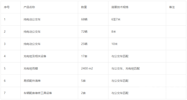
招标产品列表(主要设备):

3、投标人资格要求
投标人应具备的资格或业绩:(a) 财务能力
投标人应该提交有关文件,证明其满足了下列财务要求:
(1) 近三年(2017-2019)经审计的年度财务报告(审计报告、资产负债表、损益表、现金流量表),或者如果投标人所在国的法律没有要求,其他买方接受的财务报表,以反映投标人当前财务状况的稳定性和长期盈利能力;作为最低要求,投标人近三年(2017-2019)的净资产(按总资产和总负债之差计算)均应为正值。
(2) 投标人近三年(2017-2019)的年均营业额不少于人民币2.85亿元或美元4000万元;
(3) 投标人可利用的营运资本、授信额度和其他财务资源,能够满足本合同所需要的现金流不少于人民币4000万元或美元570万元和其他正在履行的合同所需要的现金流。
(b) 经验和技术能力
投标人应该提交有关文件,证明其满足了下列经验要求:
(1) 投标人近3年内(2017年1月至投标截止时间前)至少成功完成过2个纯电动公交车的供货合同,每个合同金额不少于人民币8000万元或其他等值的货币金额。投标人应在投标文件中提供中标合同(含详细的货物清单及合同金额)、买方出具的验收报告以及买方的联系方式供评审。
(2) 车辆制造商拥有3年以上电动公交车生产经验和10年以上公交车生产经验。
(3) 车辆制造商近3年内(2017、2018、2019年)年均至少销售5.9米及以上纯电动公交车2000台。国内制造商的销售数量以中国汽车工业协会出具的销量查询结果为准,国外制造商以销售合同为准,满足同等销量要求。
(4) 本次投标的所有规格的纯电动公交车必须为同一品牌。
是否接受联合体投标:不接受
未领购招标文件是否可以参加投标:不可以
4、招标文件的获取
招标文件领购开始时间:2020-05-19
招标文件领购结束时间:2020-07-08
是否在线售卖标书:否
获取招标文件方式:现场领购
招标文件领购地点:北京市丰台区西三环中路90号通用技术大厦1501
招标文件售价:¥2000/$300
其他说明:如需邮购,国内投标人需另加100元邮寄费用,国外投标人需另加50美元邮寄费用。开户行:交通银行北京阜外支行,开户名称:中仪国际招标有限公司,帐号:110060239018002343611。对于在邮寄过程中出现的任何文件丢失、破损,采购代理不承担任何责任。
5、投标文件的递交
投标截止时间(开标时间):2020-07-09 11:00
投标文件送达地点:云南省公共资源交易中心5号开标厅(云南省昆明市高新开发区科发路269号)
开标地点:云南省公共资源交易中心5号开标厅(云南省昆明市高新开发区科发路269号)
6、投标人在投标前应在必联网(https://www.ebnew.com)或机电产品招标投标电子交易平台(https://www.chinabidding.com)完成注册及信息核验。评标结果将在必联网和中国国际招标网公示。
7、联系方式
招标人:蒙自市住房和城乡建设局
地址:云南省红河州蒙自市天马路市级行政中心
联系人:杨先生
联系方式:0873-3718698
招标代理机构:中仪国际招标有限公司
地址:北京市丰台区西四环南路101号(园区)
联系人:陈滔
联系方式:010-63348524
8、汇款方式:
招标代理机构开户银行(人民币):交通银行北京阜外支行
招标代理机构开户银行(美元):交通银行北京阜外支行
账号(人民币):110060239018002343611
账号(美元):110060239018002343611
其他:开户名称:中仪国际招标有限公司
- 江油公交基础设施更新改造项目新能源长续航公交车中标结果公告
- 深圳巴士集团发布100辆10.5米低地板纯电动公交车采购招标公告
- 深圳巴士集团100台10.5米低地板纯电动公交车辆采购
- 泸溪县汽车运输有限公司城市公交车辆采购项目(第二包)中标公示
- 泸溪县汽车运输有限公司城市公交车辆采购项目(第一包)中标公示
- 营口交通运输集团有限公司68台纯电动公交车动力电池更新采购项目
- 福鼎市公共交通有限公司纯电动公交车动力电池更换采购项目结果公告
- 宁安市众诚公共交通有限公司购置新能源公交车辆项目
- 超1.1个亿!怀化公交集团发布136辆新能源公交车采购招标公告
- 贵州佛顶山公共交通有限公司新能源公交车采购项目中标(成交)公告
- 三明交运集团2025年度纯电动公交车辆动力电池更换采购项目招标公告
- 石家庄市公共交通集团2025年度6米级纯电动公交车采购项目中标公告
- 更换175套公交车动力电池项目招标采购公告
- 湘潭公共交通有限公司7米级低地板纯电动公交车采购项目中标公告
- 怀化公共交通集团有限责任公司新能源公交车采购交易公告
- 温县城乡公交一体化建设项目(EPC)公交车采购(第二批)招标公告
- 榆林市公共交通总公司2025年新能源公交车采购项目中标候选人公示
- 2025年镇江经开区新能源城市公交车采购项目中标公告
- 中标6.03个亿!大连公交集团发布1096辆新能源公交车采购中标公告
- 2025年大连公交老旧车辆新能源城市公交车替代项目二标段中标结果公告
1、凡本网注明“来源:www.otol-cn.com” 的所有作品,版权均属于XINGKONG.COM,未经本网授权,任何单位及个人不得转载、摘编或以其它方式使用上述作品。已经本网授权使用作品的,应在授权范围内使用,并注明“来源:www.otol-cn.com”。违反上述声明者,本网将追究其相关法律责任。
2、凡本网注明 “来源:XXX(非XINGKONG.COM)” 的作品,均转载自其它媒体,转载目的在于传递更多信息,并不代表本网赞同其观点和对其真实性负责。
3、如因作品内容、版权和其它问题需要同本网联系的,请在30日内进行。
※ 有关作品版权事宜请联系:copyright#chinabuses.com
- 国家认可!东风德纳车桥顺利通过CNAS实验室认可复评审[11-12]
- 上海货运出租行业再添新成员!大通150台大拿V1落地上海[11-12]
- 湖南永汽“城乡客运一体化”迎来新成员!金旅贡献“再加一”[11-12]
- 需求响应式公交的发展模式与未来展望[11-12]
- 强强合作!宁德时代与广汽集团签署10年战略合作[11-12]
- 赋能澳门 服务世界!国际汽博会中通打造绿色交通全球样本[11-12]
- 沈阳迎来60台金龙纯电动公交车 公共服务体验再升级[11-12]
- 辽宁抚顺300台新能源纯电公交车上线[11-12]