当前位置: XINGKONG.COM > 研究 > 客车招标 >

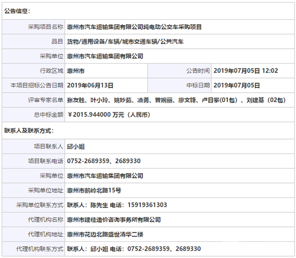
广东省惠州市汽车运输集团有限公司纯电动公交车采购项目中标公告

2019-07-11 中国政府采购网

公告概要

客车招标
相关阅读
XINGKONG.COM[www.otol-cn.com]版权及免责声明:
1、凡本网注明“来源:www.otol-cn.com” 的所有作品,版权均属于XINGKONG.COM,未经本网授权,任何单位及个人不得转载、摘编或以其它方式使用上述作品。已经本网授权使用作品的,应在授权范围内使用,并注明“来源:www.otol-cn.com”。违反上述声明者,本网将追究其相关法律责任。
2、凡本网注明 “来源:XXX(非XINGKONG.COM)” 的作品,均转载自其它媒体,转载目的在于传递更多信息,并不代表本网赞同其观点和对其真实性负责。
3、如因作品内容、版权和其它问题需要同本网联系的,请在30日内进行。
※ 有关作品版权事宜请联系:copyright#chinabuses.com
微信 分享 咨询 电话 顶部
×
XINGKONG.COM微信二维码
×
×
400-660-0262