135款客车上榜、东风超龙传统动力排名第一!工信部发布第334批新车公示
2020年6月17日,工业和信息化部公示了申报《道路机动车辆生产企业及产品公告》(第334批)(下称《公告》)的新产品。所有申报的新产品中共有汽车产品2940款,包括客车产品135款(含底盘22款,不含校车及M1类轻型客车)。


据统计,本次公示的135款客车产品中,包括传统客车37款(含底盘11款);新能源客车98款(含底盘11款),占比达73%。
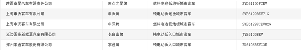
而在所有的新能源客车中,纯电动客车有88款,占比达90%;插电式混合动力客车有2款;燃料电池客车有8款(含底盘2款),分别是来自福田欧辉、开沃汽车、中车电动、申沃客车、东风超龙客车、恒通客车和秦星汽车,其中福田欧辉有2款上榜,其他企业各有1款。
分企业来看,在所有的新能源客车中,中通客车数量最多,上榜11款;中车电动(含底盘)共上榜8款,排名第二;宇通客车上榜9款,排名第三。
在传统动力客车中方面,宇通客车和东风超龙客车(含底盘)各上榜6款,排名第一;金旅客车上榜5款,排名第二;金龙客车(含底盘)上榜4款,排名第三。
值得一提的是,本批公告共上榜3款校车,分别为中通LCK6986D6Z中小学生专用校车、福田欧辉BJ6541S2LBB幼儿专用校车、河北长安SC6711XC2G6幼儿专用校车。
附件为第334批《道路机动车辆生产企业及产品公告》新产品公示(客车部分)









1、凡本网注明“来源:www.otol-cn.com” 的所有作品,版权均属于XINGKONG.COM,未经本网授权,任何单位及个人不得转载、摘编或以其它方式使用上述作品。已经本网授权使用作品的,应在授权范围内使用,并注明“来源:www.otol-cn.com”。违反上述声明者,本网将追究其相关法律责任。
2、凡本网注明 “来源:XXX(非XINGKONG.COM)” 的作品,均转载自其它媒体,转载目的在于传递更多信息,并不代表本网赞同其观点和对其真实性负责。
3、如因作品内容、版权和其它问题需要同本网联系的,请在30日内进行。
※ 有关作品版权事宜请联系:copyright#chinabuses.com
- 每辆补贴4.2-8万元!新能源城市公交及动力电池更新补贴标准出台[09-26]
- 交通运输部:全力做好2024年中秋国庆假期交通运输服务保障[09-13]
- 12城入围!交通部印发2024年城市公交优先发展和绿色出行典型案例[09-13]
- 交通运输部修订印发《汽车客运站安全生产规范》[09-12]
- 六部门组织开展2024年绿色出行宣传月和公交出行宣传周活动[09-06]
- 工信部等八部门:做好老旧新能源城市公交车辆动力电池更换工作[08-21]
- 行业观察|国务院审议通过《城市公共交通条例》将为行业带来哪些利好?[08-20]
- 政策解读|交通部印发《农村客货邮运营服务指南(试行)》的通知[08-16]