GB/T 7726.3-1998 铰接式客车机械连接装置:球头销
GB/T 7726.3—1998
前言
本标准是对GB 7726.3—87的修订。
本标准保留了原标准的内容,增加第7章包装、贮存及运输的内容,并根据相关新标准对原标准中的粗糙度
、材料及硬度表示进行修订。
本标准从实施之日起,代替GB 7726.3—87。
本标准由中华人民共和国交通部提出。
本标准由全国汽车标准化技术委员会归口。
本标准起草单位:交通部标准计量研究所。
本标准主要起草人:窦书艳、郭茂威、刘亮。
本标准于1987年首次发布。
中华人民共和国国家标准
GB/T 7726.3—1998
代替 GB 7726.3—87
铰接式客车机械连接装置球头销
Mechnical connections of articulated bus
Ball pin
--------------------------------------------------------------------------------
1 范围
本标准规定了铰接式客车球铰式机械连接装置中的球头销的尺寸、材料、技术要求、检验、包装、贮存及运输。
本标准适用于铰接式客车的球铰式机械连接装置中的球头销。
2 引用标准
下列标准所包含的条文,通过在本标准中引用而构成为本标准的条文。本标准出版时,所示版本均为有效。所有标准都会被修订,使用本标准的各方应探讨使用下列标准最新版本的可能性。
GB 191—1990 包装贮运图示标志
GB/T 1958—1980 形状和位置公差检测规定
GB/T 3077—1988 合金结构钢技术条件
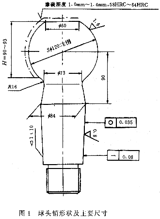
3 球头销尺寸
球头销形状及主要尺寸见图1。
4 球头销材料
球头销材料优先选用GB 3077中规定的20 CrMnTi。
5 技术要求
5.1 球头销球面的表面粗糙度为
(见图1)。
5.2 球头销杆部锥体的表面粗糙度为
(见图1)。
5.3 球头销杆部锥度偏差为±3′,素线直线度公差为0.08mm,圆度公差为0.035mm(见图1)。
5.4 球头销球面部(图1中H范围内)应进行渗碳,渗碳层深度为1.0mm~1.4mm,其表面硬度为58HRC~64HRC,杆部(除硬度转变区外)表面硬度为23HRC~43HRC。
5.5 球头销杆部锥体表面加工精度,采用环规涂色检查方法进行检查,其接触面积不小于总配和面积的70%。
5.6 球头销表面不允许有裂纹、刮伤、凹痕、锈蚀等现象,圆弧过渡处不应有尖角毛刺。
5.7 球头销包装前应作防锈处理。

6 检验
6.1 球头销逐件进行探伤检查,不得有裂纹。
6.2 每件球头销需经检验合格后,方能装车使用或出厂;
6.3 球头销杆部锥体圆度和直线度误差测量应符合GB 1958的规定,球头销杆部锥体圆度和直线度误差符合
5.3的规定。
6.4 球头销杆部锥体表面加工精度,采用环规涂色检查方法进行检查,应符合5.5的规定,球头销杆部锥体表面加工精度应符合5.2规定。
6.5 球头销的热处理符合5.4的规定。
6.6 球头销的外观符合5.6的规定。
7 包装、贮存及运输
7.1 球头销包装、贮存标志应符合GB 191的规定。
7.2 防锈处理后的球头销应采用塑料袋贮存。
7.3 出厂的球头销应附产品质量合格证书。
7.4 包装好的球头销应贮存在无酸、碱性和其他腐蚀性气体的仓库中。
7.5 球头销在运输过程中,严禁抛掷。
1、凡本网注明“来源:www.otol-cn.com” 的所有作品,版权均属于XINGKONG.COM,未经本网授权,任何单位及个人不得转载、摘编或以其它方式使用上述作品。已经本网授权使用作品的,应在授权范围内使用,并注明“来源:www.otol-cn.com”。违反上述声明者,本网将追究其相关法律责任。
2、凡本网注明 “来源:XXX(非XINGKONG.COM)” 的作品,均转载自其它媒体,转载目的在于传递更多信息,并不代表本网赞同其观点和对其真实性负责。
3、如因作品内容、版权和其它问题需要同本网联系的,请在30日内进行。
※ 有关作品版权事宜请联系:copyright#chinabuses.com
- 每辆补贴4.2-8万元!新能源城市公交及动力电池更新补贴标准出台[09-26]
- 交通运输部:全力做好2024年中秋国庆假期交通运输服务保障[09-13]
- 12城入围!交通部印发2024年城市公交优先发展和绿色出行典型案例[09-13]
- 交通运输部修订印发《汽车客运站安全生产规范》[09-12]
- 六部门组织开展2024年绿色出行宣传月和公交出行宣传周活动[09-06]
- 工信部等八部门:做好老旧新能源城市公交车辆动力电池更换工作[08-21]
- 行业观察|国务院审议通过《城市公共交通条例》将为行业带来哪些利好?[08-20]
- 政策解读|交通部印发《农村客货邮运营服务指南(试行)》的通知[08-16]