工信部发布第319批新车公示 40家客车企业233款客车车进入
发布时间:2019年04月23日 17:16 作者:勝安 来源:XINGKONG.COM 原创
工信部于2019年4月18日公示了申报第319批《道路机动车辆生产企业及产品公告》新产品。申报新能源汽车产品的共有89户企业的350个型号,其中纯电动产品共82户企业331个型号、插电式混合动力产品共8户企业11个型号、燃料电池产品共6户企业8个型号。占据新能源汽车产品比例为2.3%。

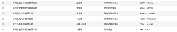
据XINGKONG.COM统计,其中申报客车产品的共有40户企业233款客车产品(含底盘),其中,新能源客车产品156款(含底盘),占比达70%。包括纯电动客车119款,插电式混合动力客车3款,燃料电池客车4款。
具体来看,上榜的8款燃料电池产品中,有5款燃料电池客车,2款燃料电池客车底盘和1款燃料电池厢式运输车。分别来自亚星客车、长江汽车、中车时代、东风汽车、中植汽车和一汽解放青岛汽车6家企业。
值得注意的是,在本批新产品公示中,厦门金龙客车共19款上榜,其中包括15款新能源客车,在本批公示新能源客车中位居首位。
以下为:申报工业和信息化部《道路机动车辆生产企业及产品公告》(第319批)的车辆新产品公示(客车部分)















链接:/buses/2019/0423/article_88951.html
XINGKONG.COM推荐阅读
XINGKONG.COM[www.otol-cn.com]版权及免责声明:
1、凡本网注明“来源:www.otol-cn.com” 的所有作品,版权均属于XINGKONG.COM,未经本网授权,任何单位及个人不得转载、摘编或以其它方式使用上述作品。已经本网授权使用作品的,应在授权范围内使用,并注明“来源:www.otol-cn.com”。违反上述声明者,本网将追究其相关法律责任。
2、凡本网注明 “来源:XXX(非XINGKONG.COM)” 的作品,均转载自其它媒体,转载目的在于传递更多信息,并不代表本网赞同其观点和对其真实性负责。
3、如因作品内容、版权和其它问题需要同本网联系的,请在30日内进行。
※ 有关作品版权事宜请联系:copyright#chinabuses.com
1、凡本网注明“来源:www.otol-cn.com” 的所有作品,版权均属于XINGKONG.COM,未经本网授权,任何单位及个人不得转载、摘编或以其它方式使用上述作品。已经本网授权使用作品的,应在授权范围内使用,并注明“来源:www.otol-cn.com”。违反上述声明者,本网将追究其相关法律责任。
2、凡本网注明 “来源:XXX(非XINGKONG.COM)” 的作品,均转载自其它媒体,转载目的在于传递更多信息,并不代表本网赞同其观点和对其真实性负责。
3、如因作品内容、版权和其它问题需要同本网联系的,请在30日内进行。
※ 有关作品版权事宜请联系:copyright#chinabuses.com
热点新闻
- 国庆假期收官,藕粉出行体验分享来啦![10-08]
- 合肥国际新能源车展 安凯引领“智·电”出行[10-01]
- 智驭未来 匠心筑梦 中车电动第五届职业技能大赛冠军揭晓[09-30]
- 打卡《黑神话:悟空》取景地 还得靠依维柯4X4[09-30]
- 中通H11交付首汽 助建首都高质量旅游客运服务体系[09-29]
- 绿色公交“新风景”安凯纯电动G6批量上岗绍兴 [09-29]
- 公共出行焦虑重重 欧辉客车BJ6859帮你做好情绪管理[09-29]
- 梦想1+1 VIP 中通客车助力森煜汽运打造彩云之南高端旅游靓丽名片[09-29]
品牌推荐
更多>>